
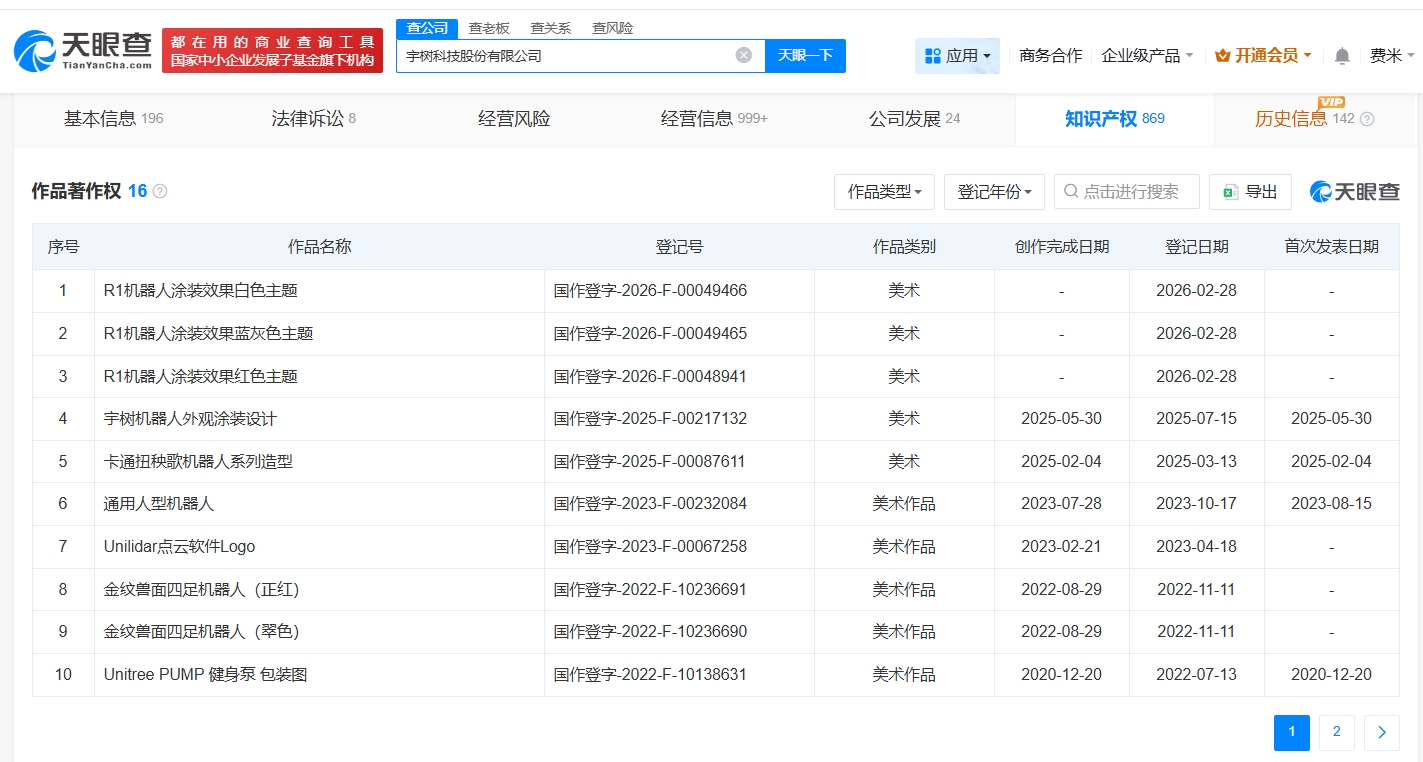
雷达财经讯,天眼查知识产权信息显示,近日,宇树科技股份有限公司登记“R1机器人涂装效果白色主题”“R1机器人涂装效果蓝灰色主题”“R1机器人涂装效果红色主题”作品著作权。
宇树科技股份有限公司成立于2016年8月,法定代表人为王兴兴,注册资本约3.64亿人民币,经营范围包括智能机器人的研发、智能机器人销售、工业机器人制造等。股东信息显示,该公司由王兴兴、汉海信息技术(上海)有限公司、宁波红杉科盛股权投资合伙企业(有限合伙)等共同持股。
公开资料显示,Unitree R1人形机器人是宇树科技研发的第三款人形机器人,于去年7月发布,该产品主要面向教育、科研及开发者群体,定位为实验基础设备和开发者平台。


















